emilspec
An Integrated Publishing, Inc. Site
eMilSpec
An Integrated Publishing Website
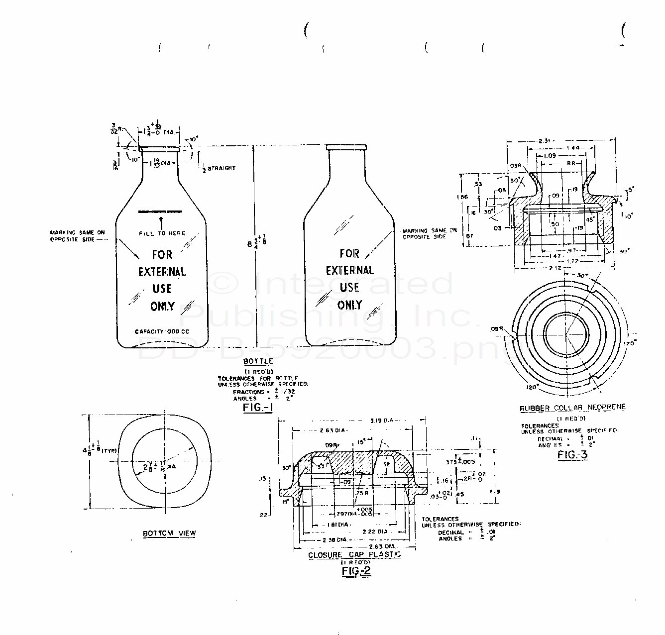
DD-B-592 Bottle, Sterile Fluid Storage (S/S By A-A-51333)
For Parts Inquires call
Parts Hangar, Inc
(727) 493-0744
© Copyright 2015 Integrated Publishing, Inc.
A Service Disabled Veteran Owned Small Business