emilspec
An Integrated Publishing, Inc. Site
eMilSpec
An Integrated Publishing Website
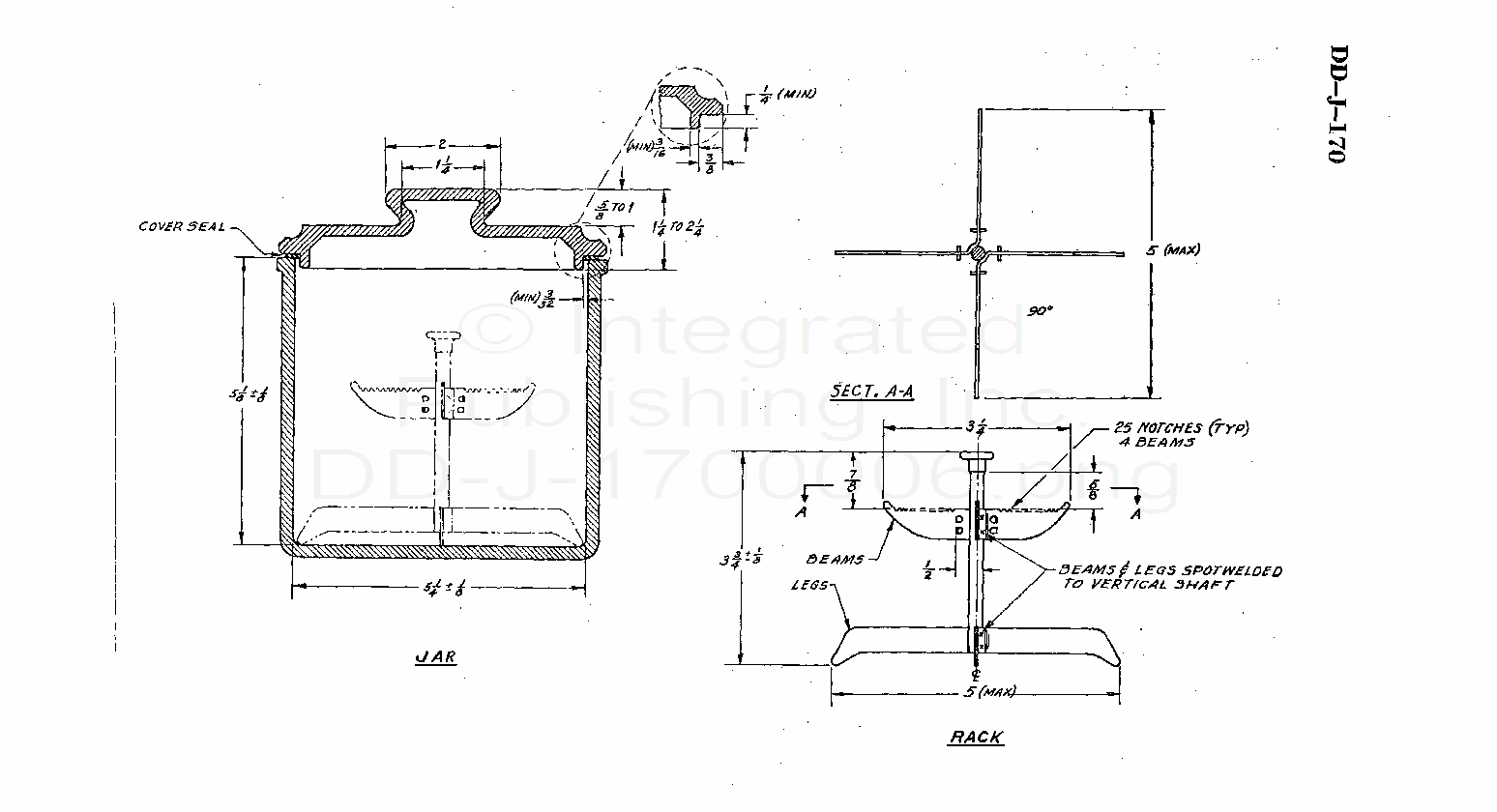
DD-J-170 Jar, Sterilizing, Scalpel Blades
This specification covers a glass sterilizing jar with cover and rack, suitable for holding 100 scalpel blades during sterilization at ordinary room temperature.
For Parts Inquires call
Parts Hangar, Inc
(727) 493-0744
© Copyright 2015 Integrated Publishing, Inc.
A Service Disabled Veteran Owned Small Business